Признаки потери качества тормозной жидкостью
- Увеличение длины пути до полной остановки автомобиля;
- Для нажатия педали тормоза необходимо прикладывать усилие;
- ДОТ в расширительном бачке сменил цвет со светлого на темный;
- В месте установки бачка видны следы утечки смазки, уходит уровень ниже нормы;
- На приборной панели горит индикатор желтого цвета – датчик уровня жидкости в системе.
При обнаружении одного или нескольких признаков, остановите машину, заглушите мотор, проведите осмотр тормозного контура, главного цилиндра. Последующая эксплуатация технического средства небезопасна.
Автомобиль ВАЗ 2107 на протяжении многих лет является лидером по продажам на российском рынке. Так как его производство было прекращено в 2012 году, то сегодня можно приобрести только подержанный его вариант.
В народе машина более известна под названием семерка. Представляет она из себя 4-дверное 5-месное транспортное средство с задним приводом и механической трансмиссией. Выпускалось в нескольких модификациях, которые отличаются моторами и рейстайлингом.
Производитель учел особенности российских дорог и создал авто, которое спокойно переносит все неровности и ямы. Его клиренс достаточно высокий, что положительно сказывается на проходимости. Благодаря заднему приводу у машины отличный показатель маневренности, хорошее сцепление с дорогой. Объясняется это просто. Когда нажимается педаль газа, вес переносится в заднюю часть.
Кроме этого, ВАЗ 2107 может похвастаться и просторным салоном, вместительным багажником, удобными передними сиденьями, хорошей обзорностью, безликовыми циферблатами и мягкой пружинной подвеской, которая обеспечивает комфортную езду.

Целесообразность установки вакуумного усилителя тормозов
Вакуумный усилитель решительно повышает комфортность управления ВАЗ 2108. Он уменьшает усилие на педали, необходимое для остановки авто. Все современные автомобили оборудованы вакуумным усилителем. Отечественные и импортные. В наше время невозможно себе представить автомашину без вакуумного усилителя тормозов.
Усилитель агрегирован с главным тормозным цилиндром и крепится на щите, отделяющем моторный отсек от салона ВАЗ 2108. Он соединён с картером двигателя гибким шлангом для подачи разреженного воздуха, нужного для работы усилителя. О неисправности усилителя ярко свидетельствует заметный рост усилия на педали тормоза. Падает ускорение торможения.
Продолжать поездку при сломанном усилителе очень рискованно
Можно с осторожностью доехать до ближайшего автосервиса. Треснувший шланг можно замотать несколькими слоями изоленты. Если замена треснувшего шланга и обратного клапана не дали результата, агрегат подлежит замене
Если замена треснувшего шланга и обратного клапана не дали результата, агрегат подлежит замене.
Работы по снятию усилителя выполняются в таком порядке.
- Отсоедините минусовую клемму аккумулятора. Обесточьте электросистему.
- Отсоедините колодку проводов от крышки бачка гидросистемы расположенную на корпусе главного тормозного цилиндра.
- Со стороны салона извлеките пассатижами палец толкателя усилителя. Отсоедините толкатель.
- Отсоедините шланг, идущий к картеру двигателя.
- Открутите две гайки крепления главного тормозного цилиндра.
- Отведите цилиндр от корпуса усилителя. Оставьте его висящим на металлических трубках гидросистемы.
- Выкрутите четыре гайки крепления кронштейна усилителя к моторному щиту и аккуратно демонтируйте усилитель.
- Открутите две гайки фиксирующие усилитель на кронштейне. Разъедините кронштейн и усилитель.
Новый вакуумный усилитель ВАЗ 2108 смонтируйте в обратном порядке.
Оплата через PayPal
После выбора оплаты через PayPal запустится платежная система PayPal, где требуется выбрать способ оплаты банковская карта или аккаунт PayPal.
Если у Вас уже есть аккаунт PayPal, то Вам необходимо зайти в него и осуществить платеж.
Если у Вас нет аккаунта в PayPal, и Вы хотите оплатить с помощью банковской карты через PayPal, Вам необходимо нажать на кнопку «Create an Account (Создать аккаунт)» — на рисунке показано стрелочкой.
После чего PayPal предложит вам выбрать Вашу страну и указать данные кредитной карты.
После указания данных, необходимых для осуществления платежа, надо нажать на кнопку «Pay Now (Оплатить)».
9.10.3 Заполнение жидкостью тормозной системы. Удаление воздуха из тормозной системы (прокачка) / ГАЗ 2705
Тормозная система прокачивается при замене тормозной жидкости, при попадании в гидропривод воздуха, при проведении ремонтных работ, связанных с разгерметизацией системы.
Гидравлический привод имеет два независимых контура, поэтому каждый контур прокачивается отдельно. Прокачку следует начинать с тормозного механизма, наиболее удаленного от главного тормозного цилиндра, то есть с правого. Прокачка выполняется двумя исполнителями в следующем порядке:
![]() |
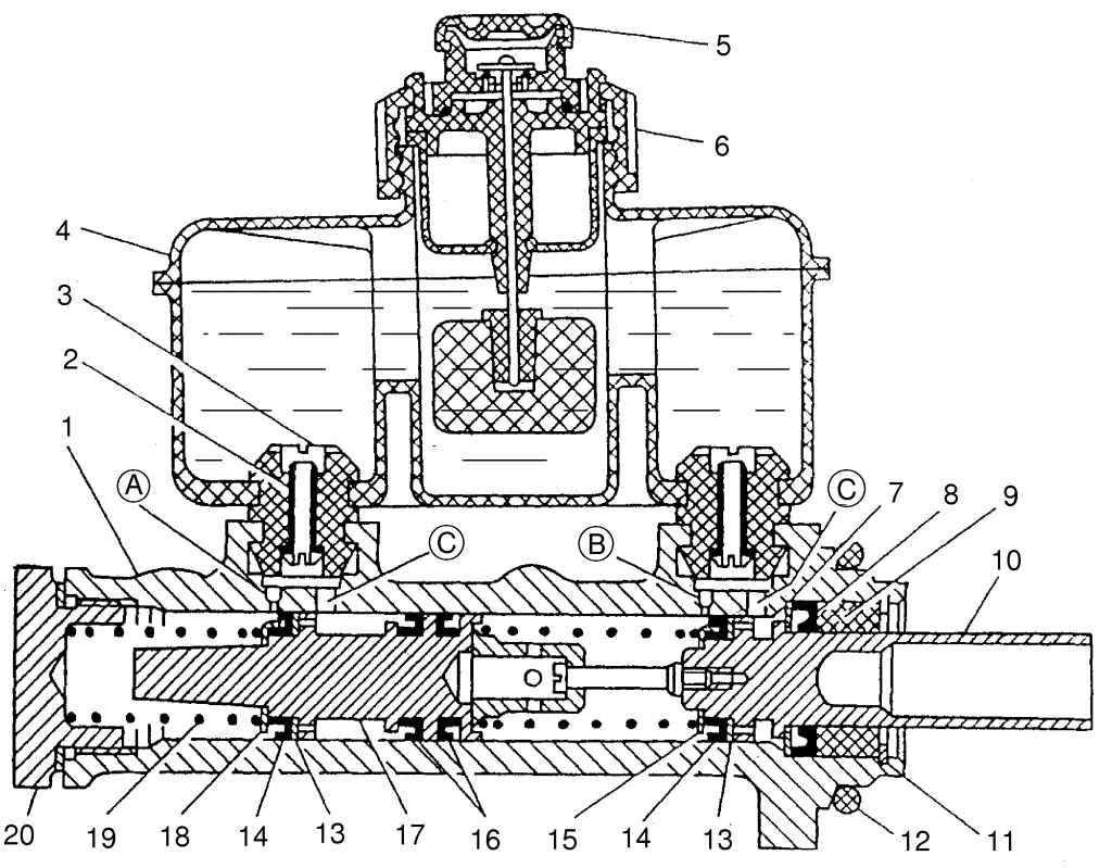
Рис. 8.3. Главный тормозной цилиндр: 1 — корпус; 2 — трубка; 3 — соединительная втулка; 4 — бачок; 5 — защитный колпачок; 6 — датчик сигнализатора аварийного падения уровня тормозной жидкости; 7 — упорное кольцо; 8 — наружная манжета; 9 — направляющая втулка; 10, 17 — поршни; 11 — стопорное кольцо; 12 — уплотнительное кольцо; 13 — шайба поршня; 14, 16 — манжеты; 15, 18— упорные шайбы; 19 — пружина: 20 — пробка; А, В — компенсационные отверстия; С — перепускные отверстия |
— отвернуть датчик 6 (см. рис. 8.3) и залить в бачок 4 тормозную жидкость до метки МАХ;
— очистить от грязи клапаны прокачки передних и задних тормозных механизмов, снять с клапанов прокачки резиновые защитные колпачки;
— надеть на головку клапана правого заднего колесного цилиндра шланг слива тормозной жидкости. Свободный конец шланга опустить в тормозную жидкость, налитую в чистый прозрачный сосуд;
— отвернуть клапан прокачки на 1/2 — 3/4 оборота, нажать на педаль тормоза. В положении полностью нажатой педали, помощник должен завернуть клапан прокачки. Повторять эту операцию до тех пор, пока не прекратятся выделения пузырьков воздуха;
— после прекращения прокачки помощник должен плотно завернуть клапан, в то время как педаль тормоза удерживается в нажатом положении. Снять шланг и надеть защитный колпачок;
— в такой же последовательности прокачать задний левый и передние тормозные механизмы.
При удалении воздуха из гидропривода тормозов необходимо своевременно доливать тормозную жидкость в бачок, не допуская «сухого» дна.
После прокачки долить тормозную жидкость в бачок до метки МАХ. Если прокачка выполнена недостаточно тщательно, то при нажатии на педаль тормоза в конце ее хода будет ощущаться некоторая упругость, большая или меньшая в зависимости от количества воздуха, оставшегося в системе. Ход педали при этом несколько увеличивается. В этом случае следует повторить прокачку.
Замена тормозной жидкости
Замена тормозной жидкости в системе необходима, поскольку она при эксплуатации впитывает влагу из атмосферы, чем ухудшает свои температурные свойства и вызывает коррозию цилиндров и поршней. Замена жидкости производится при сезонном обслуживании автомобиля (один раз в год).
Для замены тормозной жидкости необходимо:
— отвернуть крышку бачка с главного тормозного цилиндра, снять защитные колпачки с клапанов прокачки;
— надеть на головки клапанов резиновые шланги, свободные концы которых опустить в прозрачные сосуды, а затем отвернуть все клапаны на 1/2 — 3/4 оборота;
— слить отработавшую жидкость из системы, энергично нажимая на педаль тормоза и плавно отпуская ее. По мере прекращения истечения отработавшей жидкости завернуть клапаны прокачки;
— слить из сосудов отработавшую жидкость и поставить их на место под резиновые шланги; залить свежую тормозную жидкость в бачок главного тормозного цилиндра и отвернуть все клапаны прокачки. Энергично нажимая и плавно отпуская тормозную педаль, а также своевременно пополняя бачок тормозной жидкостью, заполнить систему свежей тормозной жидкостью; по мере появления в сосудах чистой тормозной жидкости завернуть клапаны прокачки;
— прокачать систему по описанной выше методике.
Как прокачать тормоза
Как прокачать тормоза самому? Два способа без помощника!
Прокачка тормозной системы на Subaru
ПРОСТОЙ СПОСОБ. Сломан ШТУЦЕР прокачки тормозной системы???!!!
Приспособление для прокачки тормозов за 85рублей.
Тормоза со второго качка газель бизнес
Да нет там воздуха. Все контуры прокачали. Ладно, 8-го женщьин своих поздравлю и . под машину!
to Вася 3962 Про самоподводы я тоже думал. Но пока ставить не хотел — старые то цилиндры нормально работали до этого.
Олег, у меня таже проблема, но воздуха в системе нет с гарантией. В конце нажима берет колом и со второго раза берет хорошо. Рабочие цилиндры новые самоподводы. Грешу на ГТЦ или вакуумник.
Олег, у меня таже проблема, но воздуха в системе нет с гарантией. В конце нажима берет колом и со второго раза берет хорошо. Рабочие цилиндры новые самоподводы. Грешу на ГТЦ или вакуумник.
Да, я тоже подумав склоняюсь к этой версии. На 99-й у меня когда то что то похожее было — через раз тормоза вдруг начали работать. ГТЦ тогда оказался виноват.
Спасибо всем за советы. Постараюсь проверить ВСЁ
Замена тормозных колодок
Тормозные колодки передних тормозов необходимо заменить, если их толщина меньше минимально допустимой. Очередность работ при замене обкладок следующая:
- Ослабить гайки крепления передних колес, поднять перед автомобиля и передние колеса.
- Снять передние колеса.
- Вывернуть болты из направляющих пальцев.
- Извлечь суппорт и отвести его, не допуская нагрузки на гибкий тормозной шланг.
- Извлечь изношенные колодки и заменить их новыми.
- Вдвинуть поршень внутрь цилиндра суппорта, стараясь не повредить пыльник поршня и не допуская вытекания тормозной жидкости из бачка.
- Установить на место суппорт и ввернуть болты в направляющие пальцы.
- Установить передние колеса, наживить гайки, опустить перед автомобиля и затянуть колесные гайки с усилием 40…70 Нм.
Скачивание книги
После успешного прохождения платежа (любым способом) и возврата в магазин KrutilVertel с сайта платежной системы Вы попадаете на страницу успешной оплаты:
Купленная Вами книга будет находиться в Вашем личном кабинете, откуда ее всегда можно будет скачать.
Обратите внимание, что после совершения оплаты, Вам необходимо вернуться обратно с сайта платежной системы на сайт KrutilVertel. В случае, если по каким либо причинам Вы не вернулись обратно на сайт и закрыли вкладку платежной системы с сообщением про успешное прохождение платежа, сообщите нам об этом — мы вышлем Вам письмо в котором будет указан доступ для скачивания книги
В случае, если по каким либо причинам Вы не вернулись обратно на сайт и закрыли вкладку платежной системы с сообщением про успешное прохождение платежа, сообщите нам об этом — мы вышлем Вам письмо в котором будет указан доступ для скачивания книги.
Признаки того, что в системе находится воздух
Тормоза, которые являются стандартными в большинстве современных транспортных средств, полагаются на эффективность действия тормозной жидкости, когда гидравлическое усилие передаётся на суппорты, что вдавливают колодки, чтобы замедлить или остановить автомобиль. Воздух намного менее плотный, поэтому он будет слишком легко сжиматься. Когда это произойдёт, ваши тормоза будут слишком мягкими.

Признаки того, что в системе есть воздух:
- Увеличение свободного хода педали тормоза.
- Ощущение «мягкой» педали тормоза.
- Проваливание педали.
Если вы заметили один или несколько из этих симптомов, не откладывайте осмотр и проверьте свои тормоза.
Проблемы при оплате банковскими картами
Иногда при оплате банковскими картами Visa / MasterCard могут возникать трудности. Самые распространенные из них:
- На карте стоит ограничение на оплату покупок в интернет
- Пластиковая карта не предназначена для совершения платежей в интернет.
- Пластиковая карта не активирована для совершения платежей в интернет.
- Недостаточно средств на пластиковой карте.
Для того что бы решить эти проблемы необходимо позвонить или написать в техническую поддержку банка в котором Вы обслуживаетесь. Специалисты банка помогут их решить и совершить оплату.
Вот, в принципе, и все. Весь процесс оплаты книги в формате PDF по ремонту автомобиля на нашем сайте занимает 1-2 минуты.
Если у Вас остались какие-либо вопросы, вы можете их задать, воспользовавшись формой обратной связи, или написать нам письмо на info@krutilvertel.com.
Как правильно удалить воздух из гидропривода
Удаление воздуха из гидропривода
Данную операцию придётся выполнять при замене тормозной жидкости (Как заменить тормозную жидкость?), при замене замене заднего тормозного цилиндра (Как заменить задний тормозной цилиндр?) и др. операциях.
Для того чтобы удалить воздух из гидропривода необходимо сделать прокачку тормозов. Воздух заметно снижает, эффективность нормальной работы тормозной системы. Из-за разгерметизации системы, в гидропривод может попасть воздух.
Разгерметизация может произойти во время ремонта отдельных узлов, а также во время замены тормозной жидкости. Увеличенный ход педали тормозов может стать показателем того, что попал воздух в гидропривод.
Убедившись тому, что все узлы приводов тормозов, также их соединений герметичны, можете приступить удалять воздух из тормозной системы.
Но а также необходимо очистить поверхность вокруг крышки бака и саму крышку тоже. Затем нужно заполнить бак тормозной жидкостью до той самой метки «МАХ». Далее аккуратно очистить штуцеры и снять с них защитные колпаки. Воздух из системы сначала нужно удалить из первого контура, а потом из второго. Начинать нужно с колесных цилиндров задних тормозов.
Схема удаления воздуха из гидропривода:
- Штуцер предназначенная для прокачки.
- Шланг.
- Сосуд с жидкостью.
Необходимо надеть резиновый шланг на головку штуцера, далее свободный конец нужно опустить в бесцветный сосуд, не полностью заполненной жидкостью. Примерно 3-5 раз нужно повторять следующие действия:
- Резко нажимая на педаль тормоза с паузами 3-4 секунды, отвернув на 1/ 2-3 /4 оборота штуцер при нажатом состоянии педали.
- Находящуюся в системе жидкость вместе с воздухом вытесните в сосуд через шланг, при этом все время продолжая нажимать на педаль.
- Как только жидкость прекратиться чет через шланг, а также педаль достигнет переднего крайнего положения, нужно завернуть штуцер выпуска воздуха до отказа.
- Действие должно продолжаться до тех пор, пока пузырьки не прекратят свой выход из шланга.
- Нажимая, точнее не отпуская педаль тормоза, нужно завернуть штуцер до отказа и снять шланг.
- Далее надо протереть штуцер и надеть защитный колпачок.
- Действие повторяется и для других колес тоже в том числе. Сначала на 2 колесе того же контура, а потом постепенно на обоих колесах следующего контура.
- В процессе удаления воздуха необходимо внимательно следить за наличием жидкости в баке. При этом нельзя допускать обнажение его дна. Так как в систему опять же может попасть воздух.
Как происходит торможение в ВАЗ 2107
После нажатия на педаль тормоза повышается давление внутри системы, кинетическая энергия передается от педали к рабочим цилиндрам. Вследствие чего сжимаются колодки, диск, машина сбавляет скорость движения, останавливается.
Утратившая свойства ТЖ часто приводит к «отказу тормозов», заклиниванию рабочих цилиндров, разгерметизации контура. При движении на высоких скоростных режимах это чревато аварийной ситуацией, столкновением со встречным транспортом.
Рекомендованный изготовителем объем ТЖ в ВАЗ 2107 – 1.0 литр. В ходе эксплуатации технического средства нередко требуется доливка в силу различных причин. Приобретайте ДОТ-4 с запасом, не менее полутора литров в общем объеме. При покупке сверяйте класс тип основы ТЖ. Не смешивайте синтетику с минеральной.
Что нужно делать
На каждом типе автомобиля порядок удаления воздуха из тормозной системы может отличаться, но сам смысл остается одинаковым.
Помощник многократным нажатием на педаль тормоза создает давление в тормозной системе, а вы в нужном порядке выпускаете воздух и старую тормозную жидкость из каждого рабочего цилиндра.
Читайте по теме: Как прокачать тормоза с АБС.
Все очень просто, достаточно один разок взглянуть на инструкцию в руководстве по эксплуатации Вашего автомобиля.
Обязательно в ходе прокачки тормозов следует доливать свежую тормозную жидкость в бачек, что бы в главный тормозной не попал новый воздух, иначе все придется начинать с начала.

Удаление воздушных пузырьков из тормозной системы
Воздух, попавший в гидравлическую систему во время ремонта тормозов (замена магистралей, тормозных цилиндров или замена тормозной жидкости), уменьшает эффективность торможения, вследствие чего его необходимо удалить. Перед началом этой операции необходимо поверить герметичность гидравлической системы, пополнить бачок тормозной жидкостью и очистить все наконечники штуцеров удаления воздуха. В первую очередь следует удалить воздух из контура передних тормозов, затем задних, начиная каждый раз от тормозного механизма, наиболее удаленного от главного тормозного цилиндра. Удалять воздушные пузырьки необходимо следующим образом:
- Снять со штуцера удаления воздуха колпачок, одеть на штуцер гибкий шланг, другой конец которого погрузить в тормозную жидкость, частично заполняющую какую-либо емкость.
- Нажать несколько раз на педаль тормоза и удерживать ее в нажатом положении.
- Отвернуть штуцер отвода воздуха на полоборота, наблюдая за выходящими, из системы пузырьками воздуха. Затянуть штуцер в момент полного нажатия тормозной педали. Эту операцию повторять до тех пор, пока из штуцера не начнет вытекать тормозная жидкость без пузырьков.
- Нажимая на педаль тормоза, затянуть о упора штуцер, снять гибкий шланг, удалить остатки тормозной жидкости из штуцера, установить защитный колпачок.
Операцию удаления воздуха провести на втором колесе контура передних тормозов, затем на обеих колесах контура задних тормозов. Во время работы необходимо регулярно пополнять тормозной жидкостью бачок.
2. Обслуживание основной тормозной системы
Проверка работоспособности и герметичности
Проверить каждый из следующих компонентов
| Компонент | Процедура |
| Вакуумный усилитель (А) | Проверить работу тормозов нажатием на тормозную педаль во время проверочной поездки. Если работа тормозов не соответствует норме, проверить тормозной усилитель. Если работа тормозного усилителя не соответствует норме, или при наличии признаков негерметичности, заменить его одним узлом. |
| Первичная и вторичная манжеты поршня (В) | — Проверить работу тормозов путем нажатия на тормозную педаль. Проверить наличие повреждений или признаков утечки тормозной жидкости. Заменить главный цилиндр как узел, если работа тормозной педали не соответствует норме, или если есть признаки утечки тормозной жидкости. — Проверить наличие разницы в ходе тормозной педали при ее резком и плавном нажатии. При наличии разницы в величине хода педали заменить главный цилиндр. |
| Тормозные шланги (C) | Проверить наличие повреждений или признаков утечки тормозной жидкости. Заменить тормозной шланг новым при наличии повреждений или утечек. |
| Уплотнения и пыльники поршней суппортов (D) | Проверить работу тормозов путем нажатия на тормозную педаль. Проверить наличие повреждений или признаков утечки тормозной жидкости. Если работа педали отличается от нормы, тормоза не растормаживаются, присутствуют повреждения или признаки утечки тормозной жидкости, разобрать тормозной суппорт и проверить его техническое состояние. В любом случае разборки тормозного суппорта заменять манжеты и защитные уплотнения новыми. |
Тормозная жидкость
Замена тормозной жидкости
1. Отсоединить отрицательную клемму аккумуляторной батареи.
2. Отсоединить разъем датчика уровня тормозной жидкости.
3. Снять крышку бачка и удалить из него тормозную жидкость с помощью шприца.
Внимание: — Соблюдать осторожность, чтобы тормозная жидкость не попала на поверхности кузова или на тело человека. Если это всё же произошло, немедленно смыть тормозную жидкость водой. — Перед открыванием крышки бачка удалить все загрязнения вокруг бачка и его крышки
— Перед открыванием крышки бачка удалить все загрязнения вокруг бачка и его крышки.
4. Отвернув штуцер для удаления воздуха (А), попросить помощника несколько раз нажать на педаль тормоза, чтобы удалить остатки тормозной жидкости из тормозных магистралей.
Передний тормоз
Задний дисковый тормоз
Задний барабанный тормоз
Откуда берется воздух в тормозной системе

Воздух, нам нужен всегда. Это то, без чего не может существовать человек. Человек, но не тормозная система вашего автомобиля. Воздух в тормозной системе авто, это как раз, совершенно нежелательный гость.
Поэтому попробуем разобраться, каким образом провести удаление воздуха из тормозной системы своими руками. Когда вы прочтёте материал, то поймете, что для того, чтобы провести прокачку тормозов, совсем не нужно прибегать к услугам автосервиса.
Вам нужно будет всего-то: помощник – даже кто-нибудь из домашних или сосед по гаражу, стандартный набор инструментов водителя и нехитрое самодельное приспособление для удаления воздуха из системы.
Современный автомобиль оснащается достаточно продуманной и эффективной системой тормозов: рабочей и стояночной.
Рабочие тормоза включают в себя 4-е тормозных механизма и гидропривод с разделением контуров. Гидропривод, в который включены: вакуумный усилитель и регулятор давления, обеспечивает одинаковое давление в тормозной системе автомобиля по контурам.
Кстати, давление в тормозной системе обеспечивается разными типами приводов: механические, гидравлические, пневмо или комбинированные приводы. Но, сути это не меняет, так как принцип удаления воздуха из тормозной системы, одинаков. За исключением некоторых особенностей при прокачке тормозов с АВС.
Как воздух может попасть, во вроде бы герметичную тормозную систему? Вариантов несколько, и даже ежедневные профилактические осмотры тормозных механизмов и трубопроводов, не могут гарантировать постоянно безвоздушное состояние системы.
Разгерметизация тормозной системы может произойти в результате неисправностей соединений, при ремонте или замене деталей и узлов, при замене тормозной жидкости. Страшного в этом ничего нет, главное вовремя произвести прокачку всей тормозной системы, либо отдельного контура.
Это интересно: Замена моторного масла и фильтра на КИА Рио 3
О том, что вам, в первую очередь нужно диагностировать тормоза, они подскажут сами. Как только вы почувствуете, что ход педали тормоза увеличился, в сравнении с обычным, или педаль стала более мягкой, то можно смело приступать к прокачке (удалению воздуха) тормозной системы.
Перед началом всех манипуляций, приготовьте чистую тормозную жидкость, налив её в пластиковую или стеклянную прозрачную ёмкость (около 200-300 мл, достаточно). Плюс, вам понадобится шланг по диаметру штуцеров для удаления воздуха, и ключи соответствующих размеров.
Визуальным осмотром не помешает убедиться в том, что нигде в узлах привода и трубопроводах системы, нет протеканий тормозной жидкости. Затем, доливаем свою, «родную» тормозную жидкость в бачок до метки «max». Под «родной», конечно же, подразумевается тормозная жидкость рекомендованная производителем.
Процесс удаления воздуха из тормозной системы
- Надеть на штуцер для прокачки шланг, второй конец которого опущен в ёмкость с тормозной жидкостью.
- Напарник должен интенсивно 3-4 раза нажать на педаль тормоза и зафиксировать её в нажатом положении. Вы на 1-1,5 оборота отворачиваете штуцер прокачки до момента, когда тормозная жидкость не потечет в ёмкость. Если в ёмкости с тормозной жидкостью появились пузырьки, то вы делаете всё правильно – идёт удаление воздуха из тормозной системы.
- Когда пузырьки воздуха перестанут появляться в ёмкости, заверните штуцер.
- Аналогичным образом производим прокачку следующего тормозного механизма на оси.
Эта операция по удалению воздуха проводится в случае прокачки одного контура. Если же вы решили провести полную прокачку тормозов, то следует выполнять рекомендуемую схему прокачки.
Это интересно: P0011: диагностика неправильного положения распредвала
Удаление воздуха (прокачка) тормозной системы начинается с дальнего колеса от ГТЦ. Например, правое заднее – левое заднее – правое переднее – левое переднее.
После удаления воздуха из тормозной системы, проведите тестовые испытания хода педали. Если она приобрела привычный для вас «ход», то всё выполнено правильно. Если она по-прежнему остаётся «мягкой, то необходимо: провести ещё раз прокачку, либо провести проверку состояния тормозных колодок и тормозного диска.
Удачи вам при проведении процедуры удаления воздуха из тормозной системы.
Откуда берется воздух в тормозной системе

Воздух, нам нужен всегда. Это то, без чего не может существовать человек. Человек, но не тормозная система вашего автомобиля. Воздух в тормозной системе авто, это как раз, совершенно нежелательный гость.
Поэтому попробуем разобраться, каким образом провести удаление воздуха из тормозной системы своими руками. Когда вы прочтёте материал, то поймете, что для того, чтобы провести прокачку тормозов, совсем не нужно прибегать к услугам автосервиса.
Вам нужно будет всего-то: помощник – даже кто-нибудь из домашних или сосед по гаражу, стандартный набор инструментов водителя и нехитрое самодельное приспособление для удаления воздуха из системы.
Современный автомобиль оснащается достаточно продуманной и эффективной системой тормозов: рабочей и стояночной.
Рабочие тормоза включают в себя 4-е тормозных механизма и гидропривод с разделением контуров. Гидропривод, в который включены: вакуумный усилитель и регулятор давления, обеспечивает одинаковое давление в тормозной системе автомобиля по контурам.
Кстати, давление в тормозной системе обеспечивается разными типами приводов: механические, гидравлические, пневмо или комбинированные приводы. Но, сути это не меняет, так как принцип удаления воздуха из тормозной системы, одинаков. За исключением некоторых особенностей при прокачке тормозов с АВС.
Как воздух может попасть, во вроде бы герметичную тормозную систему? Вариантов несколько, и даже ежедневные профилактические осмотры тормозных механизмов и трубопроводов, не могут гарантировать постоянно безвоздушное состояние системы.
Разгерметизация тормозной системы может произойти в результате неисправностей соединений, при ремонте или замене деталей и узлов, при замене тормозной жидкости. Страшного в этом ничего нет, главное вовремя произвести прокачку всей тормозной системы, либо отдельного контура.
Это интересно: Зачем менять тормозную жидкость?
О том, что вам, в первую очередь нужно диагностировать тормоза, они подскажут сами. Как только вы почувствуете, что ход педали тормоза увеличился, в сравнении с обычным, или педаль стала более мягкой, то можно смело приступать к прокачке (удалению воздуха) тормозной системы.
Перед началом всех манипуляций, приготовьте чистую тормозную жидкость, налив её в пластиковую или стеклянную прозрачную ёмкость (около 200-300 мл, достаточно). Плюс, вам понадобится шланг по диаметру штуцеров для удаления воздуха, и ключи соответствующих размеров.
Визуальным осмотром не помешает убедиться в том, что нигде в узлах привода и трубопроводах системы, нет протеканий тормозной жидкости. Затем, доливаем свою, «родную» тормозную жидкость в бачок до метки «max». Под «родной», конечно же, подразумевается тормозная жидкость рекомендованная производителем.
Процесс удаления воздуха из тормозной системы
- Надеть на штуцер для прокачки шланг, второй конец которого опущен в ёмкость с тормозной жидкостью.
- Напарник должен интенсивно 3-4 раза нажать на педаль тормоза и зафиксировать её в нажатом положении. Вы на 1-1,5 оборота отворачиваете штуцер прокачки до момента, когда тормозная жидкость не потечет в ёмкость. Если в ёмкости с тормозной жидкостью появились пузырьки, то вы делаете всё правильно – идёт удаление воздуха из тормозной системы.
- Когда пузырьки воздуха перестанут появляться в ёмкости, заверните штуцер.
- Аналогичным образом производим прокачку следующего тормозного механизма на оси.
Эта операция по удалению воздуха проводится в случае прокачки одного контура. Если же вы решили провести полную прокачку тормозов, то следует выполнять рекомендуемую схему прокачки.
Это интересно: Признаки и причины неисправности свечей
Удаление воздуха (прокачка) тормозной системы начинается с дальнего колеса от ГТЦ. Например, правое заднее – левое заднее – правое переднее – левое переднее.
После удаления воздуха из тормозной системы, проведите тестовые испытания хода педали. Если она приобрела привычный для вас «ход», то всё выполнено правильно. Если она по-прежнему остаётся «мягкой, то необходимо: провести ещё раз прокачку, либо провести проверку состояния тормозных колодок и тормозного диска.
Удачи вам при проведении процедуры удаления воздуха из тормозной системы.
Схема прокачки тормозов с системой АБС
- Первым делом берем жидкость и доливаем в бачок, если есть необходимость. Также используем емкость, ключи и шланг, как при работе с обычными тормозами.
- Выгонять воздух нужно в первую очередь из передних колес. Для этого надевается шланг на штуцер. Напарник должен нажать на тормозную педаль примерно 15-20 раз. После этих манипуляций нужно разъединить разъемы, которые находятся на бачке с тормозной жидкостью.
- Педаль нажимается до пола и фиксируется. Открываем спускной штуцер и наблюдаем за выходом жидкости с воздухом. Далее затягиваем штуцер обратно. Таким образом требуется прокачать оба передних колеса.
- Приступаем к прокачиванию заднего правого колесного диска. Производим все действия, как и с передними колесами. Напарник выжимает педаль и удерживает ее. Далее нужно включить зажигание, до того положения, когда начинает работать насос. Он выгонит жидкость с воздухом. Как только воздух перестает выходить, перекрываем прокачной винт. Только после этого можно отпустить педаль.
- Левое заднее колесо прокачивается в точности как правое, только педаль не выжимается.
- Подсоединяем все разъемы к бачку.
- Проводим проверку тормозов в движении.
Интересно! Таким образом проводится удаление воздуха, если насос, гидроклапан и аккумулятор находятся в одном узле. В случае если устройство тормозной системы автомобиля сконструировано иначе, прокачка производится в сервисе и на СТО.
Пожаловаться
Как часто прокачивать?
Определенного регламента здесь нет. Прокачивать систему нужно только после появления характерных признаков. Также воздух удаляют при ремонте каких-либо частей тормозной системы. Однако в случае замены колодок прокачивать систему не обязательно. Достаточно проверить уровень жидкости и долить ее, так как при сдавливании рабочего поршня она может политься через верх.
Отметим, что сама жидкость имеет определенный ресурс. Менять ее нужно каждые два года либо раз в 80 тысяч километров. А контролировать текущее состояние жидкости можно благодаря специальным тестерам, как на фото ниже.

Откуда берется воздух в тормозной системе
Воздух, нам нужен всегда. Это то, без чего не может существовать человек. Человек, но не тормозная система вашего автомобиля. Воздух в тормозной системе авто, это как раз, совершенно нежелательный гость.
Поэтому попробуем разобраться, каким образом провести удаление воздуха из тормозной системы своими руками. Когда вы прочтёте материал, то поймете, что для того, чтобы провести прокачку тормозов, совсем не нужно прибегать к услугам автосервиса.
Вам нужно будет всего-то: помощник – даже кто-нибудь из домашних или сосед по гаражу, стандартный набор инструментов водителя и нехитрое самодельное приспособление для удаления воздуха из системы.
Современный автомобиль оснащается достаточно продуманной и эффективной системой тормозов: рабочей и стояночной.
Рабочие тормоза включают в себя 4-е тормозных механизма и гидропривод с разделением контуров. Гидропривод, в который включены: вакуумный усилитель и регулятор давления, обеспечивает одинаковое давление в тормозной системе автомобиля по контурам.
Кстати, давление в тормозной системе обеспечивается разными типами приводов: механические, гидравлические, пневмо или комбинированные приводы. Но, сути это не меняет, так как принцип удаления воздуха из тормозной системы, одинаков. За исключением некоторых особенностей при прокачке тормозов с АВС.
Как воздух может попасть, во вроде бы герметичную тормозную систему? Вариантов несколько, и даже ежедневные профилактические осмотры тормозных механизмов и трубопроводов, не могут гарантировать постоянно безвоздушное состояние системы.
Разгерметизация тормозной системы может произойти в результате неисправностей соединений, при ремонте или замене деталей и узлов, при замене тормозной жидкости. Страшного в этом ничего нет, главное вовремя произвести прокачку всей тормозной системы, либо отдельного контура.
Это интересно: Зачем менять тормозную жидкость?
О том, что вам, в первую очередь нужно диагностировать тормоза, они подскажут сами. Как только вы почувствуете, что ход педали тормоза увеличился, в сравнении с обычным, или педаль стала более мягкой, то можно смело приступать к прокачке (удалению воздуха) тормозной системы.
Перед началом всех манипуляций, приготовьте чистую тормозную жидкость, налив её в пластиковую или стеклянную прозрачную ёмкость (около 200-300 мл, достаточно). Плюс, вам понадобится шланг по диаметру штуцеров для удаления воздуха, и ключи соответствующих размеров.
Визуальным осмотром не помешает убедиться в том, что нигде в узлах привода и трубопроводах системы, нет протеканий тормозной жидкости. Затем, доливаем свою, «родную» тормозную жидкость в бачок до метки «max». Под «родной», конечно же, подразумевается тормозная жидкость рекомендованная производителем.
Процесс удаления воздуха из тормозной системы
- Надеть на штуцер для прокачки шланг, второй конец которого опущен в ёмкость с тормозной жидкостью.
- Напарник должен интенсивно 3-4 раза нажать на педаль тормоза и зафиксировать её в нажатом положении. Вы на 1-1,5 оборота отворачиваете штуцер прокачки до момента, когда тормозная жидкость не потечет в ёмкость. Если в ёмкости с тормозной жидкостью появились пузырьки, то вы делаете всё правильно – идёт удаление воздуха из тормозной системы.
- Когда пузырьки воздуха перестанут появляться в ёмкости, заверните штуцер.
- Аналогичным образом производим прокачку следующего тормозного механизма на оси.
Эта операция по удалению воздуха проводится в случае прокачки одного контура. Если же вы решили провести полную прокачку тормозов, то следует выполнять рекомендуемую схему прокачки.
Это интересно: Перечень работ при ТО 1 (пробег 15 000 тыс. км.)
Удаление воздуха (прокачка) тормозной системы начинается с дальнего колеса от ГТЦ. Например, правое заднее – левое заднее – правое переднее – левое переднее.
После удаления воздуха из тормозной системы, проведите тестовые испытания хода педали. Если она приобрела привычный для вас «ход», то всё выполнено правильно. Если она по-прежнему остаётся «мягкой, то необходимо: провести ещё раз прокачку, либо провести проверку состояния тормозных колодок и тормозного диска.
Удачи вам при проведении процедуры удаления воздуха из тормозной системы.

