Техническое обслуживание редуктора
Редуктор заднего моста работает в повышенных нагрузках. Срок эксплуатации заднего редуктора зависит от периодического прохождения ТО, режима эксплуатации.
Признаком неисправности редуктора заднего моста, при которым следует провести диагностику и, в случае необходимости, сделать ремонт, является появление шума. Шум редуктора — это гул, который легко ощущается во время езды и который закладывает уши движении на дальнее расстояние.
Обычно, при появлении шума редуктора, всегда приходится делать капитальный ремонт или менять полностью.
В зависимости на какой передаче едет автомобиль и на какой скорость, шум может быть разным.
Порядок ремонта или замены узла полностью:
- Приготовить стандартный набор ключей.
 - Слить масло из редуктора, открутив сливную пробку.
 - Снять колеса.
 - Снять тормозные барабаны.
 - Снять колодки.
 - Открутить крепления полуосей торцевым ключом.
 - Демонтировать полуоси.
 - Разобрать и снять карданный вал. Это делаем в таком порядке:
- Поставить метки на фланце кардана и фланце редуктора для избежания дисбаланса после сборки.
 
 - Открутить болты, которые крепят вал.
 - Во время сборке использовать новые гайки для избежания возможной поломки в дороге (обрыв карданного вала).
 - Открутить крепления редуктора к заднему мосту торцевым ключом.
 - Устанавливаем новый редуктор или ремонтируем.
 - После сборки заливаем новое масло для редуктора.
 
Если во время движения появился гул около задних колес, то надо проводить регулировку. Гул появляется от постоянных нагрузок.
Диагностику делаем в таком порядке:
- Демонтировать подшипники.
 - Снять сальники.
 - Снять сателлиты.
 - Снять фланцы.
 - Снять оси.
 - Все снятые детали надо промыть в бензине или керосине.
 - Осмотреть визуально и, если обнаружено повреждение хотя бы одного зуба, то деталь подлежит замене.
 
Сборку редуктора делаем в такой последовательности:
- Установить ведущую шестерню с регулировочной шайбой, распорной втулкой, подшипниками и фланцем.
 - Гайку следует затягивать ключом с динамометрическим измерением. Силу затяжки гайки делаем 1 Н (Ньютон).
 - В корпус дифференциала установить ведомую шестерню и затянуть болты.
 - Выставить путем регулировки допустимый люфт.
 - После установки всех деталей, гайки затягиваем до минимума.
 - Теперь проворачиваем ведомую шестерню и проверяем ее на люфт. Люфт должен быть, но небольшим. Люфт — это запас расстояния, так как все детали при нагрузках немного расширяются.
 - Проверяем расстояние между болтами, удерживающие гайки. Штангенциркулем проверяем расстояния, а с другой затягиваем гайки с одинаковым моментом затяжки. Расстояния между болтами не должны изменять от предела 1,5-2 мм. Если расстояния в норме, то опять проверяем люфт шестеренки.
 - Регулировка на этом этапе заканчивается.
 
Регулировка
Перед тем как заняться регулировкой, подготовьте все необходимое: втулки в цапфу (если на цапфе есть выработка), упорные втулки 4 штуки, а также сальники. Основное условие регулировки заключается в том, чтобы две половины шруса не болтались, как при прямолинейном движении, так и при повороте! Порядок действий следующий:
- Возьмите шаровую опору и запрессуйте туда втулку так, чтобы половина шруса не болталась в шаровой.
 - Сверху идет упорная шайба, обязательно поставьте новую, даже если старая на вид в хорошем состоянии.
 - Возьмите металлический вал (можете сделать его из клапана, например) с двух сторон которого находятся конусы и оденьте на него шайбу диаметром как центральный шарик, то есть 27 мм. Одним краем уприте его в центр шкворня. В идеале второй край тоже должен приходиться на центр шкворня. Если это не так, подложите регулировочные шайбы туда же, где стоит упорная, а точнее — под нее.
 
Регулировка
Необходимо поверх шаровой опоры примерить корпус поворотного кулака и проследить за тем, чтобы центр большого отверстия в поворотном кулаке совпадал с центром опоры. Если он будет сдвинут хотя бы на 3 мм, шрус собрать не получится, поскольку там уже стоит втулка. А чтобы отрегулировать по центру, подложите под левый или правый шкворень определенное количество регулировочных шайб, в зависимости от того — в какую сторону и на сколько мм необходимо подвинуть центральную ось.
Шкворня необходимо затягивать так, чтобы усилием руки можно было поворачивать шаровую опору вперед-назад. Если посадочное место под шкворень разбито, а шкворень проворачивается вместе с шаровой — сточите несколько миллиметров на шкворне и установите его через втулку. Проворачивание или люфт недопустимы, поскольку они приводят к скорейшему износу как шкворня, так и посадочного места под него.
В самой цапфе (как передней, так и задней) лучше заменить втулку. При необходимости — подгоните размер разверткой. Важно отметить, для каждой половины шруса нужно делать по своему. Люфта быть не должно, но если половина шруса идет слишком туго, значит лучше снять разверткой побольше.
Крайне важно наличие втулок в местах, как показано на изображении. Если поставить втулку только с одной стороны, то при повороте колеса большая часть нагрузки будет приходиться именно на нее, как результат — быстрый износ, появление люфта, а там и шрус под замену. В этих местах должны стоять бронзовые втулки В процессе сборки после ремонта необходимо смазать все болты нигролом, чтобы в следующий раз все легко открутить. Все привалочные поверхности (место соединения цапфы и корпуса поворотного кулака) необходимо почистить от грязи. Не рекомендуется смазывать шрус солидолом, поскольку он густой. При нагреве под действием центробежной силы весь солидол разбросает по стенкам шаровой опоры, а надо, чтобы и шарики шруса обильно смазывались. Для этого рекомендуется разбавить солидол наполовину нигролом.
После окончательной сборки и ремонта, необходимо сделать еще одну важную регулировку. Речь идет об регулировочном поворотном болте. Это тот болт, который ограничивает максимальный угол поворота колеса
Важно не переборщить, не затягивайте болт до упора — иначе колесо будет подклинивать. Затяните почти до конца, а затем попробуйте провернуть колесо (точнее вал на котором оно будет стоять)
Необходимо выкручивать назад болт до тех пор, пока колесо не перестанет клинить. Угол поворота при этом должен получиться не ниже заводского. Ну вот, теперь и вы сами сможете отремонтировать передний мост на 469 УАЗе!
Диагностика и ремонт дифференциала
Дифференциал ваз 2110 нередко требует ремонта. Очень часто неисправность зависит от подшипника, степени его изношенности. Процесс замены детали можно совершать в домашних условиях, и заключается он в прессовании коробки с цапфы. Сепаратор при этом уже непригоден для эксплуатации, деталь не может быть установлена повторно
Когда проводится диагностика, важно внимательно осмотреть зубья сателлитов, шестеренок и шлицов на предмет износа и механических повреждений. Если это есть, детали также придется заменять
Ремонт дифференциала практически невозможен без замены подшипника. Рабочий процесс начинается с откручивания и снятия АКПП. Это трудоемкая работа, которая требует много времени и физических усилий. В первую очередь, отсоедините селекторный трос от АКПП, шланги подачи масла и электрические разъемы. Снимите переднюю часть машины для открытия доступа к валу привода. Двигатель лучше подвесить, открутить продольную лыжу и подушки коробки. Отсоедините все крепежи, связанные с мотором. Снимите коробку и произведите диагностику и замену поврежденных элементов. Обязательно выполняется замена подшипников
Для обеспечения качественной работы в дальнейшем, немаловажно очищать от старого и смазывать новым герметиком составные части перед сборкой
Ремонт редуктора своими руками
Ремонт бортового редуктора — достаточно сложная процедура, но при наличии определённых навыков вполне самостоятельно выполнимая. Сначала нужно снять сам корпус бокового редуктора.
Разборка бортового редуктора должна проходить в тисках. Чтобы разобрать бортовой редуктор, нужно открутить болты, удерживающие стопорные пластины. Далее следует осмотреть каждый подшипник на предмет его дальнейшей эксплуатации. Если проводится капитальный ремонт, каждый подшипник нужно заменить.
При проведении ремонта нужно в обязательном порядке залить новое масло в бортовые редукторы. Все детали, имеющие сколы, трещины и выбоины подлежат замене. Вал редукторного моста нужно проверить на предмет целостности. Если планируется жёсткая эксплуатация, лучше поставить усиленные валы. Сальники тоже нужно осмотреть, неисправный сальник поменять.
Сборка бортового редуктора должна проходить с использованием тисков. Все элементы узла собираются и устанавливаются в корпус бортового редуктора. Ставится на своё место дифференциал, крышки подшипников закручиваются. На этом ремонт редуктора заканчивается.
Скачивание книги
После успешного прохождения платежа (любым способом) и возврата в магазин KrutilVertel с сайта платежной системы Вы попадаете на страницу успешной оплаты:
Купленная Вами книга будет находиться в Вашем личном кабинете, откуда ее всегда можно будет скачать.
Обратите внимание, что после совершения оплаты, Вам необходимо вернуться обратно с сайта платежной системы на сайт KrutilVertel. В случае, если по каким либо причинам Вы не вернулись обратно на сайт и закрыли вкладку платежной системы с сообщением про успешное прохождение платежа, сообщите нам об этом — мы вышлем Вам письмо в котором будет указан доступ для скачивания книги
В случае, если по каким либо причинам Вы не вернулись обратно на сайт и закрыли вкладку платежной системы с сообщением про успешное прохождение платежа, сообщите нам об этом — мы вышлем Вам письмо в котором будет указан доступ для скачивания книги.
Общие сведения.
Для уменьшения нагрузки на заднюю ось применяют два ведущих моста: средний (промежуточный) и задний. На грузовых автомобилях с тремя осями устанавливают межосевой дифференциал.
Межосевой дифференциал
Для равномерного распределения вращающего момента между двумя ведущими мостами и уменьшения износа шин служит межосевой дифференциал, который установлен в среднем (промежуточном) мосту в отдельном корпусе 13 (рис. 8), прикрепленном к корпусу главной передачи через стакан подшипников ведущей конической шестерни. В корпусе расположены задняя 10 и передняя 11 чашки, конические шестерни 12 и 14 привода соответственно среднего и заднего мостов, между которыми находится крестовина 16 с посаженными на ней на бронзовых втулках сателлитами 15. Здесь же расположен механизм блокировки дифференциала, состоящий из муфты 9 блокировки, вилки 8 и диафрагменной камеры 6. Муфта 9 помещена на внутренней зубчатой муфте, жестко соединенной с конической шестерней 12 привода главной передачи среднего моста.
Механизм блокировки.
Предназначен для принудительной блокировки дифференциала при движении по скользким и размокшим дорогам. При его включении ручкой крана управления, расположенной в кабине под рулевой колонкой, воздух из пневматической системы поступает в диафрагменную камеру 6. Диафрагма прогибается, преодолевая сопротивление пружины, и перемещает шток 7
с вилкой и муфтой 9 блокировки вперед. Последняя находит шлицами на зубчатый венец задней чашки дифференциала и блокирует его, жестко соединяя корпус дифференциала с конической шестерней 12. Блокировку следует применять при малой скорости движения автомобиля или перед началом его движения.
При выключении механизма блокировки воздух из-под диафрагмы камеры 6 уходит в атмосферу, а пружина диафрагмы перемещает шток, вилку и муфту в первоначальное исходное положение.

Рис. 8. Средний (промежуточный) мост и межосевой дифференциал автомобиля КамАЗ:
1 — дифференциал промежуточного моста; 2 и 18 — соответственно ведущая и ведомая цилиндрические шестерни; 3 — ведомая коническая шестерня; 4 — вал привода заднего моста; 5
— ведущая коническая шестерня промежуточного моста;6 — диафрагменная камера;7 — шток; 8 — вилка;9 — муфта блокировки дифференциала; 10 — задняя чашка; 11 — передняя чашка с ведущим валом; 12 — коническая шестерня привода среднего моста; 13 — корпус;
14 — коническая шестерня привода заднего моста; 15 — сателлит; 16 — крестовина; 17 — левая полуось; 19 — картер; 20 — правая полуось промежуточного моста
Во время движения по сухим дорогам с твердым покрытием блокировать межосевой дифференциал не следует, так как это в результате приводит к повышенному износу шин и перерасходу топлива.
Полуоси 17 и 20 (см. рис.
В зависимости от характера установки полуосей в картере моста они могут быть полностью или частично разгружены от изгибающих моментов, возникающих под действием сил, действующих на колесо.
На грузовых автомобилях применяют полностью разгруженные полуоси. На такую полуось действует только вращающий момент, а все остальные силы воспринимаются кожухом полуоси, так как ступица колеса установлена на подшипники, посаженные непосредственно на кожух.
Рис. 9. Схемы полуосей:
а — полуразгруженная полуось; б — полностью разгруженная полуось;
1 — ведущее колесо; 2 — полуось; 3 — кожух; 4 — подшипник; 5
— ступица; G — сила, действующая на кожух и полуось; М — вращающий момент
Разновидности автомобильных мостов
- Управляемые;
 - Ведущие;
 - Поддерживающие;
 - Управляемые ведущие.
 
Ведущие мосты
автомобиля подразделяются на задние, передние и промежуточные. А также они бывают разрезанные и неразрезанные – в зависимости от варианта подвески. Если подвеска автомобиля независимая, ведущий мост изготавливается разрезным, в случае, если подвеска зависимая, мост – неразрезной. На автомобилях классической компоновки легкового типа задний мост является ведущим, на автомобилях с системой полного привода оба моста являются ведущими.
Управляемый мост
. Когда рассматривается управляемый мост, в большинстве случаев подразумевается передний мост авто с полным или задним приводом. Однако у машин специального назначения (сельскохозяйственная колесная техника, автомобили коммунальных служб, погрузчики) задний мост может быть управляемым, а передний – ведущим.
Данный мост может быть как разрезным, так и не разрезным. Неразрезной мост – это балка с поворотными кулачками, благодаря которым обеспечивается возможность вращения управляемой колесной оси во время движения транспортного средства.
Балка моста должна быть одновременно жесткой, прочной и легкой. Данным условиям отвечают по большей части стальные кованые балки двутаврового сечения. На балке имеются опорные площадки для того, чтобы закрепить элементы подвески.
В своей средней части балка выгнута вниз, для того, чтобы расположить силовой агрегат как можно ниже, и это дает возможность смены центра тяжести для увеличения устойчивости транспортного средства.
Разрезной передний управляемый мост
. Разрезным мостом называется редуктор, закрепленный на подрамнике со специальными приводными валами, которые передают крутящий момент колесам. Подвеска (независимая) соединяется с поворотными кулаками, как это свойственно автомобилям с системой переднего привода. Управляемые колеса автомобиля, прикрепленные к ступицам, могут проворачиваться одновременно со стойками, что позволяет маневрировать автомобилем.
Ремонт карданной передачи ГАЗ 2705
Снятие карданной передачи с автомобиля
| 
 
  | 
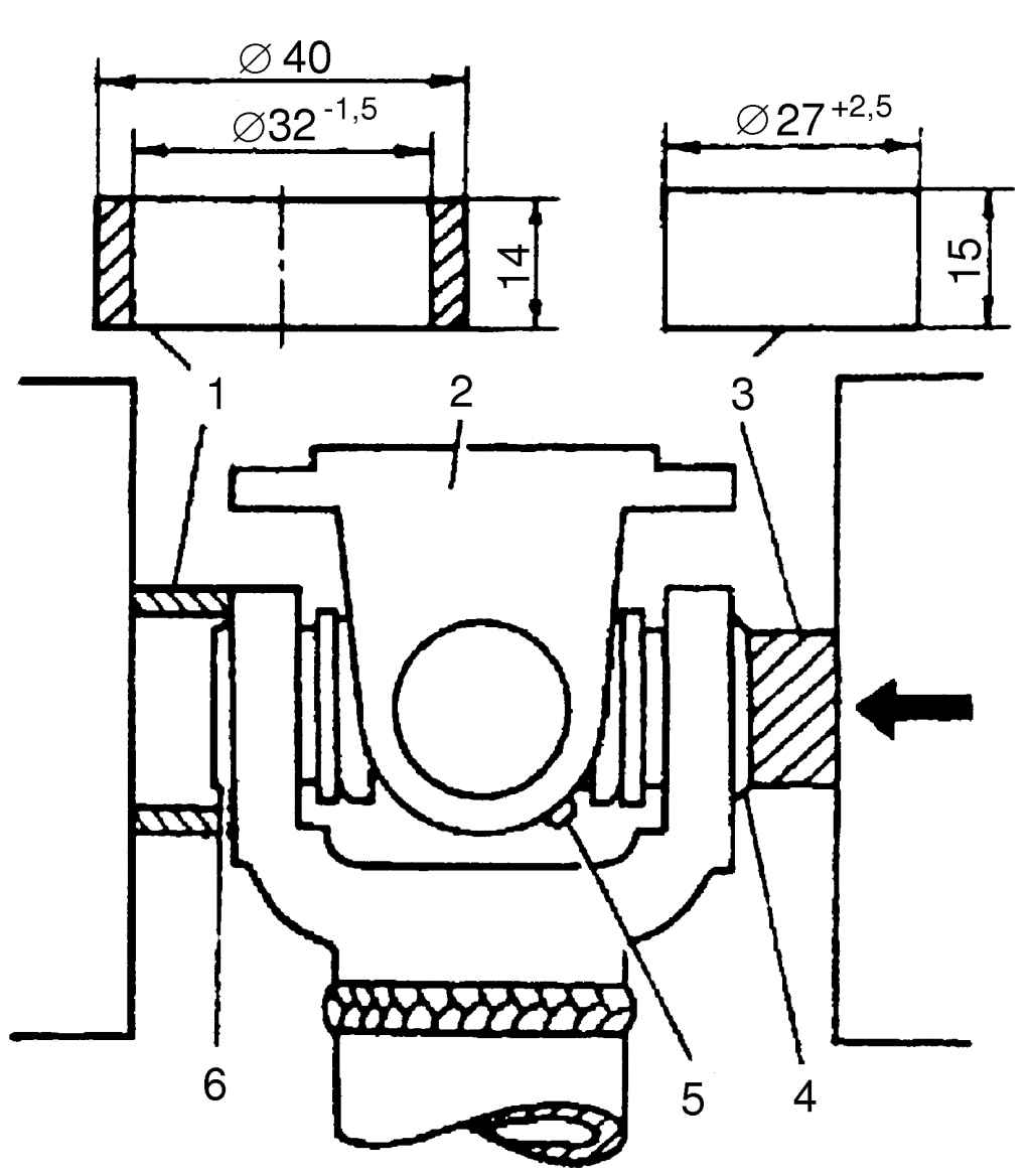
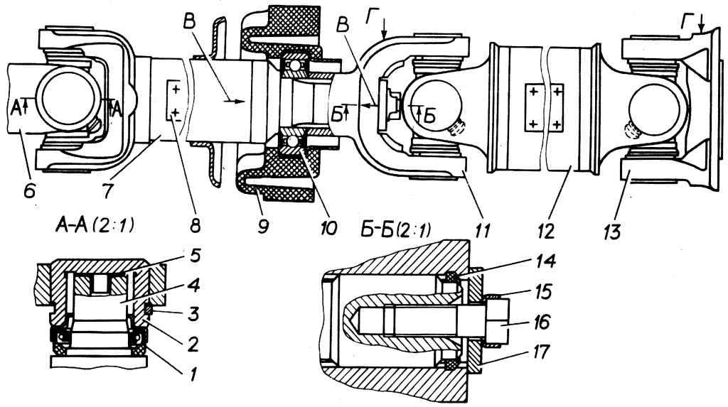
 Рис. 5.28. Карданная передача с промежуточной опорой: Г — место допустимых ударов при сборке; 1 — манжета; 2 — игольчатый подшипник; 3 — стопорное кольцо; 4 — крестовина; 5 — торцевая шайба; 6 — скользящая вилка; 7 — масленка; 8 — балансировочная пластина; 9 — подушка опоры; 10 — подшипник промежуточной опоры; 11 — шлицевая вилка; 12 — задний карданный вал; 13 — фланцевая вилка; 14 — кольцо уплотнительное; 15 — стопорная пластина; 16 — болт; 17 — шайба  | 
Перед снятием карданной передачи необходимо сделать метки взаимного углового положения скользящей вилки и вала коробки передач. Метки удобно делать краской на отражателе скользящей вилки и удлинителе коробки передач. Затем очистить от грязи выступающую резьбовую часть болтов крепления к фланцу заднего моста и отвернуть их. Отвернуть гайки крепления промежуточной опоры и освободить ее от поперечины рамы. После этого надо сдвинуть карданную передачу вперед, отсоединить ее от фланца моста. Для облегчения этой операции при необходимости можно ударить молотком через медную прокладку по фланцу заднего шарнира в месте, обозначенном буквой А (см.
| 
 Рис. 5.30. Разборка карданного шарнира: 1 — кольцо; 2 — фланец шарнира; 3 — оправка; 4, 6 — подшипники; 5 — пресс-масленка  | 
После снятия колец выпрессовать подшипники в тисках, как показано на 
| 
 Рис. 5.31. Последовательность сборки карданного шарнира: 1 — кольцо; 2 — стопорное кольцо  | 
— вставить подшипники в отверстия вилки, частично надев их на шипы, и, вращая крестовину в разные стороны (рис. 5.31 А), плавно сдвинуть подшипники до упора (рис. 5.31 В);
— легким ударом молотка установить стопорное кольцо 2 в канавку подшипника. При этом кольцо необходимо придерживать, так как возможно его вылетание из канавки;
— поставить кольцо-оправку 1 на внешний торец ушка вилки с застопоренным подшипником (рис. 5.31 С) и допрессовать крестовину с подшипниками до упора стопорного кольца в подшипник и вилку, затем вставить второе стопорное кольцо;
— собрать вторую половину шарнира в той же последовательности.
У собранного шарнира не должно быть заеданий и переменного усилия проворачивания. Момент проворачивания шарниров не должен превышать 2 Н·м (0,2 кгс·м). Если шарниры тугие, нужно несколько раз ударить молотком в местах, обозначенных буквой А (см. рис. 5.28);
Промежуточная опора собирается в следующем порядке:
— запрессовать подшипник в обойму до упора, прилагая усилие к наружному кольцу подшипника;
— обойму с подшипником установить во внутреннюю полость подушки промежуточной опоры;
— промежуточную опору с подшипником установить на шлицевой конец до упора в буртик, прилагая усилие к торцу обоймы подшипника;
— вложить в канавку шлицевой вилки уплотнительное кольцо;
— установить шлицевую вилку 11 на шлицы хвостовика по ранее нанесенным меткам;
— болт 16 с надетыми на него стопорной пластиной 15 и шайбой 17 ввернуть на 2-3 нитки резьбы в торец шлицевого конца промежуточного вала; установить шайбу 17 в прорезь шлицевой вилки 11 так, чтобы овальное отверстие шайбы 17 было параллельно оси отверстий ушек вилки;
— разместив фиксирующий усик стопорной пластины 15 в овальном отверстии шайбы 17, прижать пластину шайбе и довернуть болт 16, затянув его моментом 40-45 H·м (4,0-4,5 кгс·м).
— застопорить болт 16, отогнув на грани его головки лепестки стопорной пластины 15;
— проверить легкость вращения подшипника промежуточной опоры, устранив при необходимости причину задевания деталей;
— застопорить болт 16, отогнув на грань его головки лепестки стопорной пластины 15.
После сборки карданной передачи необходимо произвести ее динамическую балансировку.
Установка карданной передачи на автомобиль
Первоначально необходимо вставить скользящую вилку переднего шарнира в удлинитель коробки передач. Фланец заднего шарнира соединить с фланцем ведущей шестерни заднего моста и затянуть резьбовое крепление моментом 27-30 Н·м (2,7-3,0 кгс·м). Промежуточную опору установить на поперечину рамы и, убедившись в отсутствии ее перекоса относительно продольной оси автомобиля, затянуть гайки моментом силы 12-18 Н·м (1,2-1,8 кгс·м).
Крепление промежуточной опоры к поперечине производить только на стоящем на колесах автомобиле.
Размеры сопрягаемых деталей карданной передачи приведены в табл. 5.4.
Таблица 5.4. Размеры сопрягаемых деталей карданной передачи, мм

Видео про «Ремонт карданной передачи» для ГАЗ 2705
Замена крестовины кардана
Причина вибрации кардана и кпп газель бизнес
Замена крестовин кардана Газель 3302.Replacement of details the Gazelle 3302.
Ведущий мост
Основными неисправностями ведущего моста являются: увеличенный люфт вала ведущей шестерни главной передачи, часто сопровождающийся стуком или повышенным шумом во время движения; подтекание масла через сальники или в разъеме кожухов полуосей ведущего моста.
Устранение основных неисправностей ведущего моста требует выполнения сложных регулировочных или ремонтных работ (регулирование взаимного расположения шестерен главной передачи, регулирование предварительного натяга подшипников, замена подшипников и др.). При этом часто возникает необходимость демонтировать полуоси, снимать картер редуктора в сборе главной передачей и т. п. В связи с этим рекомендуется для устранения неисправностей ведущего моста прибегать к услугам станций технического обслуживания или ремонтных мастерских.
С появлением повышенного шума надо остановить автомобиль и проверить на ощупь температуру картера моста. Обычно она не должна превышать 50 — 60°С
Если температура выше, необходимо убедиться в наличии в картере ведущего моста масла, обратив внимание на его качество. Если масла недостаточно, его следует долить
Затем следует проверить герметичность и состояние картера. При обнаружении подтекания масла через сальники и прокладки, что свидетельствует об их износе, неисправные сальники и прокладки заменить, подтянуть крепления, очистить и продуть сапун картера, чтобы обеспечить сообщение внутренней полости моста с атмосферой. При необходимости подтянуть крепления крышек и картер редуктора.
Если повышенный шум не исчез, следует искать другие причины. При этом следует хорошо знать характерные признаки, сопровождающие те или иные повреждения. Так, пульсирующий шум моста свидетельствует об ослаблении крепления ведомой шестерни и ее биении. Эту неисправность необходимо устранять на СТО.
Если в ведущем мосту появился шум высокого тона или «вой», то может быть неправильно отрегулирован контакт между зубьями новых шестерен. В этом случае следует отрегулировать пятно контакта. Для выполнения регулировки по пятну контакта требуются высокая квалификация специалистов, специальные приспособления и инструмент, поэтому данную работу рекомендуется выполнять только на СТО.
Сильный шум, возникающий со стороны колес, является характерным признаком чрезмерного износа подшипника полуоси, который требует замены. Устранение этой неисправности советуем также провести на СТО.
Повышенный скрежещущий шум со стуком в мосту, появляющийся при торможении автомобиля двигателем, свидетельствует о разрушении или износе подшипников ведущей шестерни. Проверку и замену поврежденных подшипников необходимо выполнять на СТО.
Возникновение сильного металлического стука в картере моста при резком нажатии на педаль управления дроссельной заслонкой после движения по инерции, на поворотах или на неровностях дороги происходит из-за неисправного дифференциала.
Дифференциал можно проверить следующим образом. Поставить рычаг переключения передач в нейтральное положение, поддомкратить ведущий мост, используя домкрат и подставку, и вращать одно колесо рукой вперед или назад. Если противоположное колесо вращается без шума и стука в обратную сторону, то дифференциал исправен. Вращение обоих колес в одну сторону свидетельствует о неисправности дифференциала. Возможно в нем возникло заедание из-за поломки шестерен сателлитов и полуосевых шестерен или из-за их повышенного износа. Устраняют эти неисправности заменой поврежденных и изношенных деталей на СТО.
Появление сильных ударов и стуков в мосту нередко происходит из-за поломки зубьев ведущей шестерни или увеличенного износа подшипников. Устранить эти неисправности можно только заменой неисправных деталей на СТО.
Иногда новый задний мост работает бесшумно, но после пробега автомобиля 3 — 5 тыс. км появляется шум. Чаще всего это происходит из-за нарушения регулировки или преждевременного износа конических роликовых подшипников в результате попадания мелких частиц металла и грязи, либо тугой их затяжки и применения недоброкачественной смазки. В этом случае картер моста надо промыть керосином. Если шум не исчез, то необходимо обратиться на СТО для проверки состояния подшипников и при необходимости их регулировки или замены.
Виды мостов по конструкции
Конструктивно мосты проектируются в виде полнотелой поперечины или пустотелой балки.
а — поперечина; б — неразъемная балка; в — разъемная балка; 1, 4 — рукава полуосей; 2, 3 — части картера моста.
С поперечиной
Мосты с поперечиной изготавливаются в виде двутавра переменного сечения из металлического бруса методом ковки. Часто поперечину по ошибке называют балкой. Обычно центральная часть поперечины двутаврового сечения изогнута вниз с целью более низкого расположения агрегатов (например, двигателя).
С балкой
Мосты с балкой пустотелые с целью размещения внутри балки элементов привода ведущей оси. Существуют мосты с разъемной и неразъемной балкой. Последние имеют значительно более высокую жесткость, поэтому применяются в тяжелой технике. Мосты с разъемной балкой предназначены для легковых автомобилей и грузовиков с небольшой грузоподъемностью,
Задний неразъемный ведущий мост грузовика Mercedes-Benz Actros
Также мосты с балкой отличаются по технологии изготовления. В основном применяются штампованные и литые балки.
- Разъемные — есть поперечный разъем в области картера, соединяемый болтами. Трубчатые рукава полуосей запрессованы в разъемные части картера;
 - Неразъемные — балка цельная с литым картером, в который запрессованы рукава полуосей. Плюсом такой компоновки, помимо более высокой жесткости по сравнению с разъемными мостами, также является удобство обслуживания — для доступа к дифференциалу и главной передаче не нужно демонтировать мост целиком;
 - Штампованные — изготавливаются из ковкого чугуна методом штамповки с применением сварки, превосходят по жесткости разъемным балки, но уступают по этому параметру литым балкам;
 - Литые — наиболее жесткий и надежный вид балок, применяется в тяжелой технике, однако технология изготовления наиболее сложная и дорогостоящая. Материалом для изготовления служат ковкий чугун или сталь.
 
Дифференциал заднего моста
Вот казалось бы и все. Мы достигли того, что колеса начали получать вращение. Но возникает проблема при изменении направления движения автомобиля поворотом влево, вправо или при развороте. Если колеса поместить жестко на одной оси, то они всегда одинаково будут вращаться. А при повороте, допустим, направо, радиусы поворота колес изменяются, и правое колесо проходит меньшее расстояние, чем левое.
Получается, одно из них должно проскальзывать. Такой же эффект будет, если одно из колес прокатывается через яму, а второе по ровной поверхности. Это приведет к повышенному износу колес, а на скользкой дороге автомобиль будет просто неуправляем.
Значит надо сделать так, чтобы колеса были независимы друг от друга, но при этом получали крутящий момент. Это и есть задача следующего механизма – дифференциала заднего моста. Дифференциал заднего моста изображен на рисунке ниже.

Ведущая шестерня входит в зацепление с ведомой, вид которой, как видно на рисунке, заметно изменился, по сравнению с предыдущей картинкой. Внутри ведомой шестерни жестко сидят две конические шестеренки друг напротив друга. Называются они сателлитами.
Каждый сателлит зубьями сцеплен с двумя шестернями на полуосях. Сами полуоси друг с другом напрямую никак не связаны, только через сателлиты. То есть на данном этапе колеса получили независимость друг от друга.

